
詳細資料:
開啟過程
1在關閉位置,閥體受閥桿的機械施壓作用,緊壓在閥座上。
2當逆時針轉動手輪時,閥桿則反向運動,其底部角形平面使球體脫開閥座。
3閥桿繼續提升,并與閥桿螺旋槽內的導銷相互作用,使球體開始無摩擦地旋轉。
4直Z到全開位置,閥桿提升到位置,球體旋轉到全開位置。
關閉過程
1關閉時,順時針旋轉手輪,閥桿開始下降并使球體離開閥座開始旋轉。
2繼續旋轉手輪,閥桿受到嵌于其上螺旋槽內的導銷的作用,使閥桿和閘板同時旋轉90度。
3 快要關閉時閘體已在與閥座無接觸的情況下旋轉了90度。
4手輪轉動的Z后幾圈,閥桿底部的角形平面機械地楔向壓迫球體,使其緊密地壓在閥座上,達到完全密封。
結構特點
1、 啟閉無摩擦。這一功能完全解決了傳統閥門因密封面之間相互摩擦而影響密封的問題。
2、 上裝式結構。對裝在管道上的閥門可直接在線檢查與維修,能有效減少裝置停車,降低成本。
3、 單閥座設計。消除了閥門中腔介質因異常升壓而影響使用安全的問題。
4、 低扭矩設計。特殊結構設計的閥桿,只需配一個小手把閥門就能輕松啟閉。
5、 楔形密封結構。閥門是靠閥桿提供的機械力,將球楔壓到閥座上而密封,使閥門的密封性不受管線壓差變化的影響,在各種工況下密封性能都有可靠保證。
6、 密封面的自清潔結構。當球體傾離閥座時,管線中的流體沿球體密封面成360度均勻通過,不僅消除了高速流體對閥座局部的沖刷,也沖走了密封面上的聚積物,達到自清潔的目的。
主要零件材料及主要用途
| 型號 | 閥體 | 閥蓋 | 閥瓣 | 閥座 | 閥桿 | 填料 | 適用介質 | 適用溫度 |
| J61Y-(320) | A105 | 2Cr13+ Stellite12 | D507Mo | 2Cr13 | 柔性石墨 | 水、蒸汽 | 425 | |
| J61Y-(320)PI | Ocr18Ni9Ti(F321) | 321+ Stellite12 | Stellite6 | 321 | 柔性石墨 | 水、蒸汽 | 540 | |
| J61Y-P54(170) | 12CrLMoV | 12CrMoV+ Stellite12 | Stellite6 | 25CrMo1Va | 柔性石墨 | 蒸汽 | 570 | |
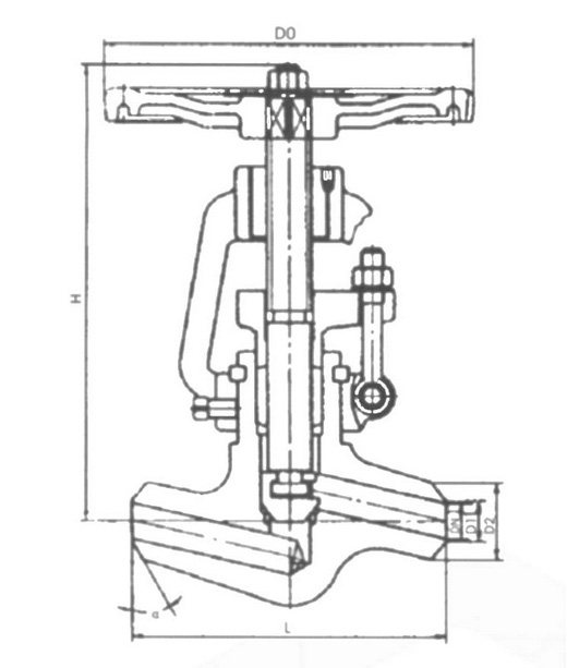
主要外形尺寸、連接尺寸及重量

| 型號 | 公稱直徑 NP(Mpa) | 公稱通徑 DN(mm) | 標準值 | ||||||||
| L | d | D1 | D2 | h | Do | H | H1 | 質量(kg) | |||
| J61Y-320 | 32 | 10 | 110 | 10 | 12 | 24 | 13.5 | 160 | 215 | 36 | 5.7 |
| J61Y-P54170 | P5417 | 10 | 110 | 10 | 12 | 24 | 13.5 | 160 | 215 | 36 | 5.7 |
| J61Y-320 | 32 | 15 | 150 | 113 | 16 | 35 | 12 | 200 | 247 | 45 | 10.5 |
| J61Y-320PI | 32 | 15 | 150 | 13 | 16 | 35 | 12 | 200 | 247 | 45 | 10.5 |
| J61Y-P54200V | P5420 | 15 | 150 | 13 | 16 | 35 | 12 | 200 | 247 | 45 | 10.5 |
| J61Y-320 | 32 | 20 | 150 | 19 | 22 | 35 | 18 | 200 | 247 | 47 | 9.9 |
| J61Y-P54170V | P5417 | 20 | 150 | 19 | 22 | 35 | 18 | 200 | 247 | 47 | 9.9 |
| J61Y-320 | 32 | 25 | 180 | 20.5 | 24 | 52 | 21 | 240 | 290 | 66 | 13.2 |
| J61Y-320PI | 32 | 25 | 180 | 20.5 | 24 | 52 | 21 | 240 | 290 | 66 | 13.2 |
| J61Y-P54200V | P5420 | 25 | 180 | 20.5 | 24 | 52 | 21 | 240 | 290 | 66 | 13.2 |
| J61Y-320 | 32 | 32 | 180 | 27 | 31 | 52 | 24 | 240 | 282 | 66 | 12.8 |
| J61Y-P54170V | P5417 | 32 | 180 | 27 | 31 | 52 | 24 | 240 | 282 | 66 | 12.8 |
主要零件材料及主要用途
| 型號 | 閥體 | 閥蓋 | 閥瓣 | 閥座 | 閥桿 | 填料 | 適用介質 | 適用溫度 |
| J61Y-(320) | A105 | 2Cr13+ Stellite12 | D507Mo | 2Cr13 | 柔性石墨 | 水、蒸汽 | 425 | |
| J61Y-(320)PI | Ocr18Ni9Ti(F321) | 321+ Stellite12 | Stellite6 | 321 | 柔性石墨 | 水、蒸汽 | 540 | |
| J61Y-P54(170) | 12CrLMoV | 12CrMoV+ Stellite12 | Stellite6 | 25CrMo1Va | 柔性石墨 | 蒸汽 | 570 | |
電站截止閥優點
1.流體阻力小,其阻力系數與同長度的管段相等。
2.結構簡單,體積小,重量輕。
3.緊密可靠,目前閘閥的密封面材料廣泛使用塑料,密封性好,在真空系統中也已廣泛使用。
4.操作方便,開閉迅速,從全開到全關只要旋轉90度,便于遠距離的控制。
5.維修方便,閘閥結構簡單,密封圈一般都是活動的,拆卸更換都比較方便。
6.在全開或全閉時,球體和閥座的密封面與介質隔離,介質通過時,不會引起閥門密封面的侵蝕。
7.適用范圍廣,通徑從小到幾毫米,大到幾米,從高真空Z高壓力都可應用。
執行標準:
制造標準:日標E101, JB/T3595, DL/T531
結構長度: E101, JB/T2766, GB/T15188.1
壓力與溫度: E101, JB/T359
對焊連接: GB12224, JB/T3595, ASME B16.25
訂貨須知:
一、①J61Y焊接南通式截止閥產品名稱與型號②J61Y焊接南通式截止閥口徑③J61Y焊接南通式截止閥是否帶附件以便我們的為您正確選型。
二、若已經由設計單位選定型號,請按型號直接向我們華楊銷售部訂購。
三、當使用的場合非常重要或環境比較復雜時,請您盡量提供設計圖紙和詳細參數,由我們華楊的閥門 為您審核把關。